| Welcome to Mercedes-190.co.uk We are the Mercedes 190 owners forum, the place to be for all owners and fans of the Mercedes 190E, 190 and 190D cars. Including Cosworth (2.3 16v and 2.5 16v), EVO 1 and EVO 2 models. Modified and concourse, track cars and daily drivers, all are welcome. This free UK based forum was started back in November 2005 to serve the Mercedes 190 W201 community and now has over 9000 members from all around the world and 600,000 + posts. The members welcome you and encourage you to stay a while and have a look around. We offer you friendly chat and access to some very useful information as well as tutorials with photos and videos for many common repair and maintenance jobs. Whatever your needs there is a good chance you will be able to find what your looking for. Such as our Mercedes 190 buyers guide Sign up to gain access to all areas including for sale / classified areas and country wide meetings and events. Many forum features and sections are only available once you sign up. Join our forum at mercedes-190.co.uk! If you're already a member please log in to your account: **New members signing up** please check your junk mail for the email authorization email otherwise we cannot verify your new account. I have noticed a lot of unauthorized accounts in the system. Regards Admin |
| Help Needed; idle and rpm problem | |
|---|---|
| Tweet Topic Started: Sun Jul 26, 2009 8:26 pm (868 Views) | |
| Bre | Sun Jul 26, 2009 8:26 pm Post #1 |
|
Learning
![]() ![]() ![]()
|
My idle is to low and not steady, after starting the engine for 20 sec its about 900 rpm, after that its sometimes 500-600 or 400-500 this is to low, the engine starts to shake. Today when this is happened I pused down the gas pedal i rev it up tu 3000 rpm I took of my feet of the pedal, the rpm-s wery slowly started to go back and stuck at obout 2000-2500 rpm. I have too shut down the engine and start it again, then its again ok. This is happening to me all day. What is the problem????? 3 days ago I changed the idle control valve ( its not a new one but my friend said that it worked ). I had to change it becouse my old one wasnt working at all. And the last one, today I noticed a hose under the air filter, what is it for, the other and of it is loose/disconnected? Here is the pic of it. Please help. Any sugestions are welcome
|
![]() |
|
| Rich27 | Mon Jul 27, 2009 8:59 am Post #2 |
![]()
Admin
![]()
|
Is yours a 1.8 or 2.0? |
![]() |
|
| Bre | Mon Jul 27, 2009 9:56 am Post #3 |
|
Learning
![]() ![]() ![]()
|
Rich27 its an 1.8, with an automatic transmision |
![]() |
|
| Rich27 | Mon Jul 27, 2009 10:52 am Post #4 |
![]()
Admin
![]()
|
OK , I understand that the 1.8 doesnt have the Idle Adjust screw? You could try adjusting the Fuel air mix so it runs a little richer, you can do this with a 4mm allen key through that pokey up bit above the afm plate in the picture (technical term) , insert and press and turn clockwise to thicken the mix (about 2mm) but please WAIT untill somone else with a 1.8 answers as they may know a better way, as I fiddled with mine and cocked it right up so do this as a last resort |
![]() |
|
| Bre | Mon Jul 27, 2009 10:56 am Post #5 |
|
Learning
![]() ![]() ![]()
|
Thanks for de reply, Can you tell me, the purpos of the tube/hose from the picture? |
![]() |
|
| CrysAk | Mon Jul 27, 2009 11:05 am Post #6 |
|
Moar Bass!
![]() ![]() ![]() ![]() ![]() ![]() ![]() ![]()
|
isnt the long upright hollow metal thing with 2 screws above the air intake in the picture the air intake adjustment? (Allen key hole inside it) messing with that in my 2.3 16v fixed my idle problem ... i think ![]() again wait for smoeone with more aof a clue than me to reply before you kill your car going off my (lack of) knwoledge Edited by CrysAk, Mon Jul 27, 2009 11:06 am.
|
![]() |
|
| Bre | Mon Jul 27, 2009 11:11 am Post #7 |
|
Learning
![]() ![]() ![]()
|
They told me that ist where I can adjust the mix of an air and fuel/lpg. I`ll wait for more replys Nobody knows the purpos of the tube ??? The other end is loose/cut of, so I`m a lite bit worried, wat is it for |
![]() |
|
| Rich27 | Mon Jul 27, 2009 11:17 am Post #8 |
![]()
Admin
![]()
|
Yes that is the Air Fuel mix adjuster, turning it up a bit should stop the idle problems, (2mm clockwise) Tube? Sorry I dont know. Edited by Rich27, Mon Jul 27, 2009 11:18 am.
|
![]() |
|
| bazfj40 | Mon Jul 27, 2009 12:14 pm Post #9 |
|
[url]http://img291.imageshack.us/my.php?image=1120a10cq6.jpg[/url]
![]() ![]() ![]() ![]()
|
it could be a number of things to be honest, if your car was running ok before i doubt its the mixture so the mixture screw is the last thing i would touch. on my 2ltr i have a auxillary air device which is next to the cold start valve which alters the tickover on the engine but dont know if the 1.8 has them. you turn the brass screw in the middle anti clockwise/ clockwise to alter the tickover, not sure what pipe you mean from the pic but i have a pipe which pushes on the underside of my air filter and then goes to the rocker box cover and the other part of the pipe goes to the auxillary air device , think its just a breather pipe, hope this helps.![]() Edited by bazfj40, Mon Jul 27, 2009 12:19 pm.
|
![]() |
|
| bazfj40 | Mon Jul 27, 2009 12:27 pm Post #10 |
|
[url]http://img291.imageshack.us/my.php?image=1120a10cq6.jpg[/url]
![]() ![]() ![]() ![]()
|
better pic , you can see the air device next to the cold start![]() valve. |
![]() |
|
| bazfj40 | Mon Jul 27, 2009 12:30 pm Post #11 |
|
[url]http://img291.imageshack.us/my.php?image=1120a10cq6.jpg[/url]
![]() ![]() ![]() ![]()
|
delete last pic as its crap, still trying to work out how to make them bigger |
![]() |
|
| Bre | Mon Jul 27, 2009 12:39 pm Post #12 |
|
Learning
![]() ![]() ![]()
|
The pipe is about 0.5 m long and the other end of it was laying somewere next to the gearbox It looks like a vacume tube so that is why I`m a litle bit woried, OH and a few minutes ago when I started the engine a hear a loud voice from the transmition its like when a bearing is gone. I dont know is this has to do someting with a this tube???? Edited by Bre, Mon Jul 27, 2009 12:48 pm.
|
![]() |
|
| bazfj40 | Mon Jul 27, 2009 1:03 pm Post #13 |
|
[url]http://img291.imageshack.us/my.php?image=1120a10cq6.jpg[/url]
![]() ![]() ![]() ![]()
|
if im correct theres a plastic pipe on the side of the gearbox shaped like a y, the hose from the manifold connects to it, its a vacuum line. |
![]() |
|
| Bre | Mon Jul 27, 2009 1:09 pm Post #14 |
|
Learning
![]() ![]() ![]()
|
How can I get to this Y like pipe on the manifold. Do I have to go undernet the car to see it and fix it? |
![]() |
|
| balamb37 | Mon Jul 27, 2009 1:13 pm Post #15 |
|
Grumpy Old Grampa with Dog
![]() ![]() ![]() ![]() ![]() ![]() ![]() ![]()
|
If the tube is a vacuum hose then that is your tick-over problem, you will have to either wait untill someone tells you where the other end goes or you will have to get underneath and find where it belongs, under no circumstances play around with adjustments, that can be fatal to your engine. If you have running problems it will be to 99% something else as adjustment screws don't usually turn themselves. |
![]() |
|
| Bre | Mon Jul 27, 2009 1:17 pm Post #16 |
|
Learning
![]() ![]() ![]()
|
Are there any diagrams/drawings/pictures of these vacume pipe lines for mercedes?? |
![]() |
|
| Bre | Mon Jul 27, 2009 1:20 pm Post #17 |
|
Learning
![]() ![]() ![]()
|
I`m going outside to the car, to trie to figure it out where to conect back that pipe Wish me luck |
![]() |
|
| Bre | Mon Jul 27, 2009 1:47 pm Post #18 |
|
Learning
![]() ![]() ![]()
|
No luck so far, the problem is I cant get undernet the car. I do not have a garage for these kind of repairs. But I found in the manual the pipe, bu it not saying anything about it
Edited by Bre, Mon Jul 27, 2009 1:48 pm.
|
![]() |
|
| balamb37 | Mon Jul 27, 2009 1:56 pm Post #19 |
|
Grumpy Old Grampa with Dog
![]() ![]() ![]() ![]() ![]() ![]() ![]() ![]()
|
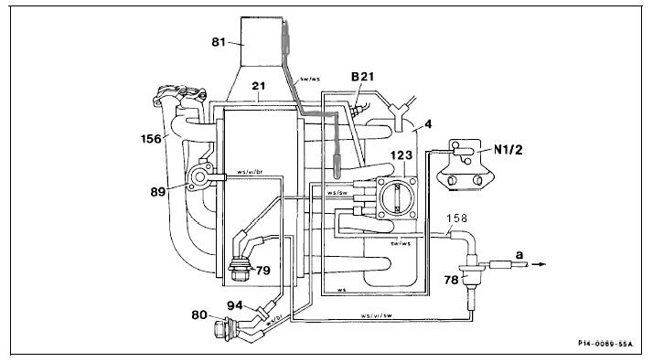
I don't think the pipe we are talking about is on that diagram, as that diagram shows all the connections to the 'Temperature sensors and switches' on the engine itself. you need to find the one underneath your car connecting to your gearbox. On your back and slide underneath seems like your only choice. |
![]() |
|
| Bre | Mon Jul 27, 2009 2:01 pm Post #20 |
|
Learning
![]() ![]() ![]()
|
It seems like I will have to get to me back a slide underneath, I`ll trie |
![]() |
|
| Bre | Mon Jul 27, 2009 7:09 pm Post #21 |
|
Learning
![]() ![]() ![]()
|
I`m back. I spent more than 2 ours undernet the car, 50% of the job is done. I just cold not fine where that pipe goes. But I found another pipe witch was disconected ![]() I fixed it I hope thats its original place ![]() Can somewone tel me undernet that pipe that i puted back, is there going another pipe or noth??? Does enywone have a picture ore conection diagram for it. This device is on an automatic transmision Oj yes almost forgat the idle problem solved. |
![]() |
|
| mb92 | Sun Aug 16, 2009 7:40 am Post #22 |
|
Newbie
![]() ![]() ![]()
|
I had a similar problem with my 1.8. Changed the OVP relais and the idle was stable after that.It's behind a plastic shield at the rear of the battery compartment. hope this helps. |
![]() |
|
| 1 user reading this topic (1 Guest and 0 Anonymous) | |
| « Previous Topic · Engine · Next Topic » |







![]](http://z2.ifrm.com/static/1/pip_r.png)









9:17 AM Jul 11